我们有些朋友知道搬瓦工VPS主机商的洛杉矶DC6和DC9 两个机房是CN2 GIA优化方案的,但是你可能忽视看到 圣何塞机房也是有提供优化线路的,走的是CT CN2GIA-E, CMIN2, CUP 三网线路。在这里,我们直接测试机器看看性能和速度。

这里老蒋本地的PING延迟速度,还是比较稳定的。

通过全球节点的PING检测可以看到基本没有丢包问题。
我们再看看三网的去程。
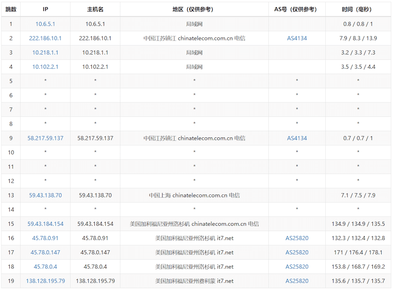
电信去程:

联通去程:

移动去程:

这里,我们再看看内部数据信息。

看看这个圣何塞IP的流媒体支持情况。

通过回程看看线路情况。
我们可以看到这个搬瓦工圣何塞机房的线路还是优化线路的,适合有需要进行切换选择。
原创文章,转载请注明出处:https://www.itbulu.com/ct-cn2gia-e.html




