LOCVPS 有提供日本东京和大阪机房的VPS,采用的是BGP+SoftBank+KDDI混合接入线路,支持部署Win和Linux系统,但是没有明确标注是日本原生IP。在这篇文章中,我选择一台日本东京机房的VPS进行测试。日本东京机房起步配置1G内存,月付优惠后24元,价格还是便宜的。

| 核心 | 内存 | 硬盘 | 月流量 | 带宽 | IP | 系统 | 价格 | 链接 |
|---|---|---|---|---|---|---|---|---|
| 1核 | 2GB | 30GB | 750GB | 400Mbps | 1 | Linux | 30.00 / 月 | 购买链接 |
| 2核 | 6GB | 60GB | 1500GB | 400Mbps | 1 | Linux/Windows | 60.00 / 月 | 购买链接 |
| 4核 | 12GB | 120GB | 3000GB | 500Mbps | 2 | Linux/Windows | 220.00 / 月 | 购买链接 |
以上是原价,需要用到通用八折优惠券。

本地的PING测试,可以看到有丢包的问题。如果我们本地要用业务,可以按照BBR加速。

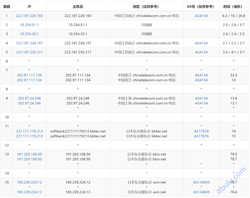
中国电信去程表现优异,流量从江苏、浙江骨干网低延迟汇聚后,经由上海/浙江国际出口直连出海,未出现绕路现象,最终精准落地日本SoftBank与KDDI等本土优质运营商网络,全程路由干净且延迟控制在75ms左右,虽晚高峰可能受国际出口带宽波动影响,但整体是一条稳定、直连且适合跨境业务的优质链路。

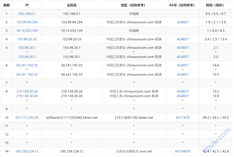
中国联通去程路由分析显示,流量从江苏淮安(AS4837)联通骨干网出发,经上海节点汇聚后直连出海,落地日本东京时接入了 SoftBank(软银,AS17676) 和 KDDI(AS134835) 网络。国内段延迟极低(约1ms-2ms),国际段到日本延迟约 39ms-42ms。

中国联通去程路由分析显示,流量从江苏淮安(AS4837)联通骨干网出发,经上海节点汇聚后直连出海,落地日本东京时接入了 SoftBank(软银,AS17676) 和 KDDI(AS134835) 网络。国内段延迟极低(约1ms-2ms),国际段到日本延迟约 39ms-42ms。

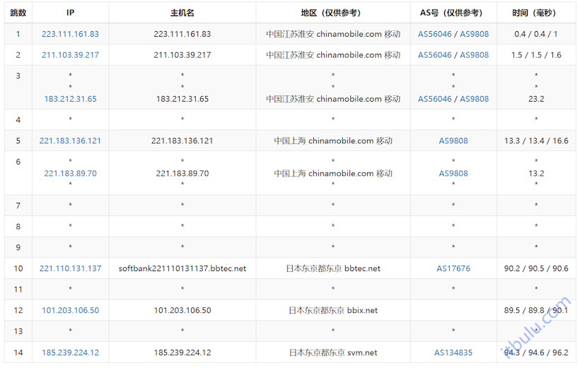
综合来看,这套“BGP+SoftBank+KDDI”混合接入方案配合星脉网络落地,实现了三网回程的高质量直连架构:去程依托联通优质出口直连日本本土双ISP,回程则统一通过星脉网络无缝切回电信、联通、移动骨干网,全程路由干净无绕路。

虽然官方没有提到这个产品主攻支持出海外贸业务,但是从检测的IP可以看到,兼容流媒体还是比较全面的。对于这个日本VPS产品,价格还是比较便宜。
LOCVPS服务商的其他机器测评:
1、LOCVPS 香港精品直连VPS 电信CN2/联通CUG/移动CMI
2、LOCVPS 韩国原生IP家宽网络VPS推荐 国际线路100M带宽起
原创文章,转载请注明出处:https://www.itbulu.com/locvps-jpbgpkddi.html



