LOCVPS 商家提供的VPS方案和机房也是比较多的,在上周老蒋有介绍到韩国原生VPS,在今天准备介绍有提供的香港精品线路。其核心竞争力在于彻底实现了三网真直连、海外无绕行的线路方案。对国内用户而言,电信、联通、移动分别通过专属的 CN2、CUG 与 CMI 直连通道接入香港节点,从源头上规避了公共国际出口的拥堵;而对海外访问,其线路全程依托优质国际骨干网,确保全球用户抵达香港的路径同样高效、低延迟。
这是以上的套餐计划,可以用到下面的折扣通用八折。
那老蒋就开通一台机器亲测看看。

本地的电信PING测速可以看到速度还是非常稳定和迅速的。

电信去程,可以看到电信节点走的是59.43精品节点。

移动去程可以看到移动去程路由整体走移动自家骨干网,路径清晰且优化良好。起点经江苏宿迁移动(AS56046 / AS9808)后,一路通过上海移动(AS9808)节点,最终平稳抵达中国香港移动节点(AS58453 / AS9808),全程未经过第三方拥挤线路。

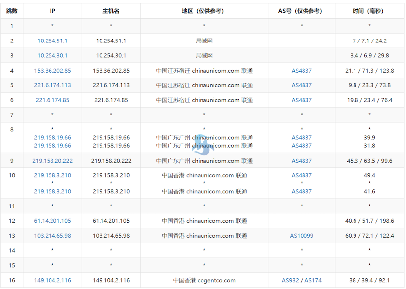
联通去程测试,可以看到联通去程路由全程走联通骨干网,起点经江苏宿迁联通(AS4837)后,顺次经过广州联通节点,随后一路直达中国香港联通(AS4837),最后抵达香港机房。全程未经过任何第三方拥挤线路确保了去程的低延迟与高稳定性。

三网回程的测试也是比较优秀的。

这款VPS主机配置上6GB及以上是支持WIN系统的,100M带宽起步配置,看看硬件的参数跑分。

官方也没有提到是原生香港IP,以及ISP网络,所以这个机器并不是家宽香港VPS。老蒋也给出这个IP机器的流媒体测试情况。如果有需要特别强调支持香港家宽ISP网络的,可以选择这款机器。而老蒋在这篇文章提到的LOCVPS香港精品VPS适合有建站或者非必须流媒体需求的,速度和稳定性还是很好的。
原创文章,转载请注明出处:https://www.itbulu.com/locvps-hkcn2.html



