近期欧洲外贸出海业务和自媒体的需要,对于英国的IP资源还是相对缺少。在这里,我们看到来自丽萨主机商有新补充全新的英国原生IP段资源,而且采用的是大陆三网优化线路,适合自媒体、出海业务用途。根据官方的数据显示Tiktok运营数据好, 解锁Claude Code, Gbps超大带宽,支持解锁BBC iPlayer, 英国Tiktok,GPT, Netflix, HULU, DISNEY等视频平台资源,当然也是支持安装Windows系统的。
这里我们看套餐计划:
| 内存 | 核心 | 硬盘 | 流量 | 带宽 | 价格 | 购买 |
| 1G | 1核 | 10G | 6T/月 | 300M | 68元/月 | 链接 |
| 2G | 2核 | 20G | 8T/月 | 500M | 100元/月 | 链接 |
| 4G | 4核 | 80G | 20T/月 | 1Gbps | 300元/月 | 链接 |
| 2G | 2核 | 40G | 不限 | 200Mbps | 398元/月 | 链接 |
| 4G | 4核 | 80G | 不限 | 500Mbps | 598元/月 | 链接 |
丽萨主机通用九折优惠券
可以叠加优惠券。在这里,我们也开通一台机器进行测试。

我们先测试一下这个我开通的机器的IP,检测到是ISP。

本地的PING速度还是不错的,毕竟是欧洲机器,而且据说是三网优化线路,这个速度应该是可以的,如果是普通线路应该在接近300ms左右。
三网的去程测试。
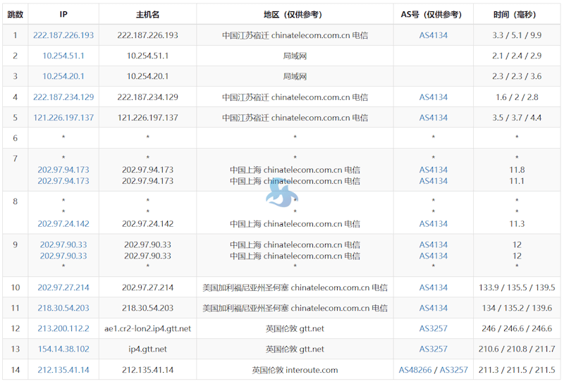
电信去程:

可以看到电信我测试的并不是59.43优化线路,算是普通的202.97电信163节点,应该不是所有的都是优化线路。
移动去程:

联通去程:

我们可以看到三网均是从美国再到欧洲的。

流媒体的支持还是满意的,人家毕竟商家主打的就是ISP网络家宽网络。

最后通过回程可以看到移动精品网络,联通9929,电信是163线路。
如果我们有需要用到英国原生IP流媒体和自媒体需要,包括AI应用的,可以用这个机器的,而且支持48小时退款,可以试试。
原创文章,转载请注明出处:https://www.itbulu.com/lisahost-ukips.html



