近年来,伴随跨境电商、海外直播及游戏加速等需求的爆发,美国洛杉矶机房因靠近亚太地区、访问延迟相对较低,成为众多出海玩家的核心节点选择。本次评测聚焦 HOSTYUN 美国洛杉矶机房 AS967 线路方案,其主打“CN2+9929+CMIN2 三网混合 + 美国原生 IP” 特色,面向追求中美网络优化、需要稳定海外节点的用户群体。在本文中,我将从 网络线路(各运营商路由质量)、带宽端口实测、延迟丢包表现、原生 IP 特性、适用场景(如TikTok直播、跨境网站) 等维度,结合实际测试数据与体验,为各位带来一份全面、可参考的评测报告。

目前这个套餐一共有三个,CN2+9929+CMIN2三网混合网络,算是优化线路。第一个套餐不是原生IP,后面2个是分配各一个原生独立IP。

本地PING测试可以看到没有丢包的问题,速度也是比较稳定在130ms左右。

图片展示的美国洛杉矶机房(AS967)到中国电信网络的路由追踪数据显示,线路走向呈现出明显的地域差异和路由多样性。对于国内江苏南京地区的电信用户,去程线路主要经过本地运营商骨干网(如AS137702 / AS4134),延迟表现优异,最低可达3.4毫秒,表明存在优化的直连或就近接入路径。上海地区的电信用户延迟略高,约在7.8至13.9毫秒之间,但仍处于较低水平。而来自美国加利福尼亚州洛杉矶本地电信节点的路由,延迟则显著升高至130毫秒以上,这符合跨太平洋传输的物理距离特性。整体来看,该机房对中国电信用户的去程线路经过优化,特别是对东部沿海城市(如南京、上海)提供了低延迟的优质连接。

从中国联通网络出发前往该美国洛杉矶机房(AS967)的路由追踪数据显示,国内段主要集中在江苏宿迁(AS4837)与北京(AS4837)的联通骨干节点,其中宿迁节点延迟最低可达2.2毫秒,北京节点在30余毫秒,表明联通在国内网络覆盖与调度上具备较好的低延迟基础。国际段路由经由美国加利福尼亚州洛杉矶的联通节点(AS4837)或第三方运营商如 Telia(AS1299)、Cogentco(AS967/AS932/AS174)进行中转,最终抵达目标机房,延迟集中在135至190毫秒区间,符合跨洋链路的正常时延表现。
部分路径通过 Telia 等国际运营商中转,可能带来一定的路由绕行,但整体仍保持了较稳定的连通性。

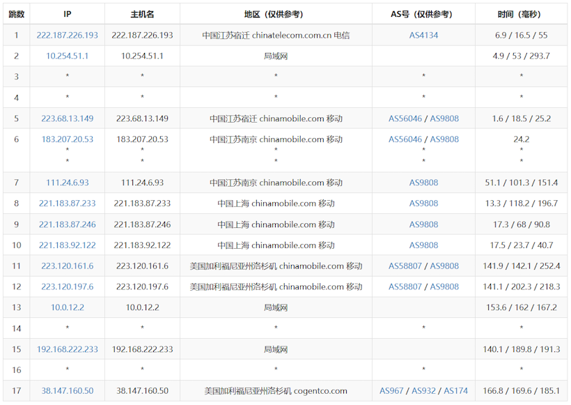
从中国移动网络去往该洛杉矶机房的路由显示:国内段通过江苏宿迁、南京、上海等移动骨干节点(AS56046/AS9808),延迟最低1.6ms,体现良好的区域低延迟覆盖;国际段经美国洛杉矶移动节点(AS58807/AS9808)或第三方(如Cogentco)中转,延迟集中在140–250ms,符合跨洋传输规律。整体国内段优化充分,国际段虽有绕行但连接稳定可靠。

我们可以看到兼容大部分的流媒体,这里老蒋的测试服务器还是非原生IP套餐,如果是原生IP套餐应该会更好。

回程线路我们可以看到电信依旧是CN2 GIA,移动CMI,联通4837。
如果我们有需要便宜且线路较好的美国原生IP的云服务器的,这个还是可以有一定性价比的。
原创文章,转载请注明出处:https://www.itbulu.com/hostyun-usas967.html



