HostDare,2014年成立的海外主机商,提供洛杉矶CN2 GT、洛杉矶CN2 GIA两种线路和方案的VPS主机。HostDare商家体量不大,应该算是一个小团队的品牌团队,在行业内有部分需要洛杉矶CN2 GIA机房线路的还是会选择这个服务商的。在这篇文章中,老部落将会较为详细的评测HostDare商家CN2 GIA线路的配置。
HostDare 商家目前有CN2 GIA和CN2 GT两个方案线路,但是前者是目前中美线路比较好的CN2优化直连线路,所以有些网友选择比较多。在这篇文章中,我们就介绍这个套餐。
HostDare CN2 GIA配置
目前,HostDare CN2 GIA配置起步49.99美元年付方案。还是适合个人建站使用的,但是需要注意备份数据,这个任何商家都不可忽略的。
HostDare 支持支付宝付款方式。
HostDare CN2 GIA评测
这里我们就测试手上已有的HostDare CN2 GIA性能。
1、PING速度延迟测试

2、主机配置信息

3、IO读写测试

4、去程路由测试

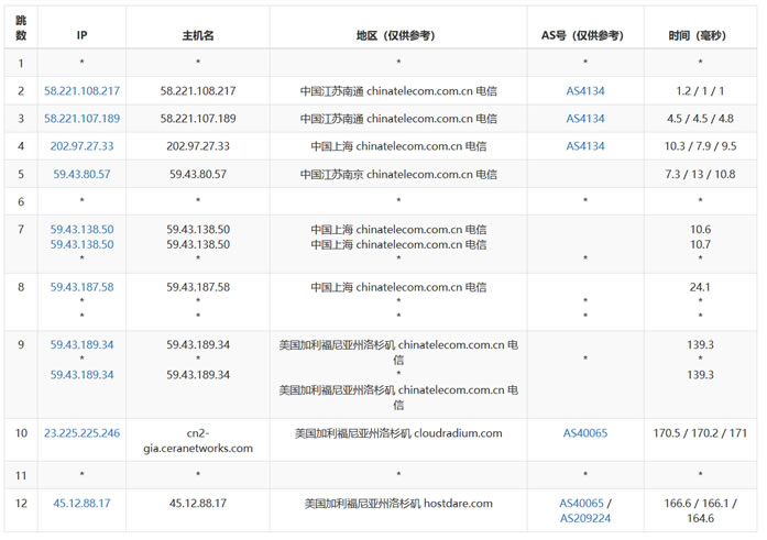
5、回程路由测试

6、随机下载上传测速

总结,HostDare 商家可以看到测试的电信线路去程 和回程都是CN2 优化线路。如果有需要这个商家的,还是可以选择,不过最低套餐必须年付方案,所以我们在购买之后不要乱用导致IP被封,这样会比较损失的。如果我们正规项目是没有多大问题。
原创文章,转载请注明出处:https://www.itbulu.com/hostdare-cn2-gia.html




