对于台湾VPS主机商而言,老蒋在前面的文章中也有介绍过。其中有一款是成立于2015年的台湾VPS服务商Serverfield,其商家有提供台湾、土耳其、荷兰、美国洛杉矶、等多个地区的云服务器VPS主机和独立服务器产品。其中对于我们有些朋友需要台湾VPS的而言,可选择商家不是太多,这个服务商提供的是原生台湾IP,而且是优化线路。

在这篇文章中,我们也简单的测试看看 Serverfield 商家台湾VPS的测试线路性能。
| CPU | 内存 | SSD | 带宽 | 流量 | IP | 价格 | 购买 |
| 1核 | 512M | 10G | 10M | 100G/月 | 1 | $12.99/月 | 选择 |
| 1核 | 1G | 10G | 100M | 250G/月 | 1 | $18.40/月 | 选择 |
| 1核 | 2G | 20G | 100M | 500G/月 | 1 | $39.99/月 | 选择 |
| 2核 | 4G | 40G | 100M | 1000G/月 | 1 | $55.99/月 | 选择 |
我们可以看到 Serverfield 台湾VPS服务商提供的是100M带宽且大陆优化线路的台湾原生IP的VPS。如果有需要也可以增值付费升级多个IP地址,目前只有可以选择Linux系统。
这里,我们测试看看线路和速度。

我们可以看到Serverfield的台湾VPS线路对于我们大陆节点的速度还是很不错的。

从PING本地速度看,也是相当不错的。

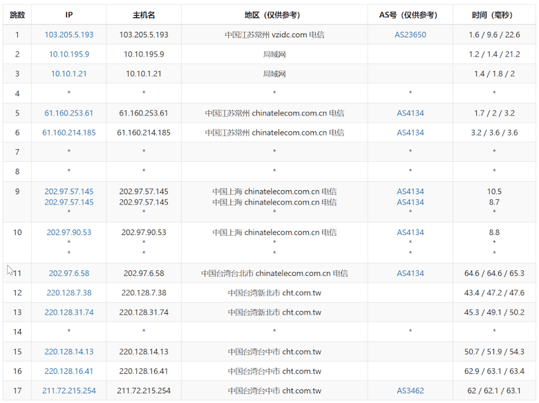
随机电信节点去程可以看到是走的202.97节点直连到台北电信。

移动节点走的是上海移动出口。

联通节点随机测试的是南通联通,走的是上海联通出口。
在选购Serverfield这款台湾VPS服务商而言,还是相对简单且有支持支付宝付款。
原创文章,转载请注明出处:https://www.itbulu.com/serverfield.html



