对于JTTI云服务商我们应该是熟悉的,一个老牌的新加坡云主机商,有提供新加坡、美国、香港、日本等机房的独立服务器和云服务器VPS主机。近期前面老蒋有介绍到新增轻量香港云服务器,采用200M大带宽可选国际线路和优化线路,可以满足我们国内朋友的出海业务和国内的速度业务。对于这样的香港云服务器且200M带宽的,而且价格也是有很大的竞争力。

如果我们有需要可以选择。同时,在这篇文章中,我也详细亲自测评他们的这个机器。
| 型号 | 月费 | 内核 | 内存 | 磁盘 | 带宽 | IP | 流量 | 选择购买 |
|---|---|---|---|---|---|---|---|---|
| HK轻量 | $9.35 | 1 个 | 1GB | 50GB | 200Mbps | 1 | 800GB | 立即订购 |
| HK轻量 | $11.01 | 1 个 | 2GB | 50GB | 200Mbps | 1 | 800GB | 立即订购 |
| HK轻量 | $12.67 | 2 个 | 2GB | 50GB | 200Mbps | 1 | 800GB | 立即订购 |
| HK轻量 | $21.75 | 2 个 | 4GB | 50GB | 200Mbps | 1 | 800GB | 立即订购 |
| HK轻量 | $24.52 | 4 个 | 4GB | 50GB | 200Mbps | 1 | 1600GB | 立即订购 |
| HK轻量 | $31.17 | 4 个 | 8GB | 50GB | 200Mbps | 1 | 1600GB | 立即订购 |
以上有提供6个套餐计划可选,默认是优化带宽200M独享配置,如果有需要出海业务的,也可以选择国际带宽。

通过工具检测服务器的基本配置信息,以及硬盘读写和内存、CPU数据。

检测香港轻量云服务器的IP地址的自媒体平台的兼容,可以看到兼容大部分的流媒体用途。

检测IP的质量。

服务器的回程网络测试。

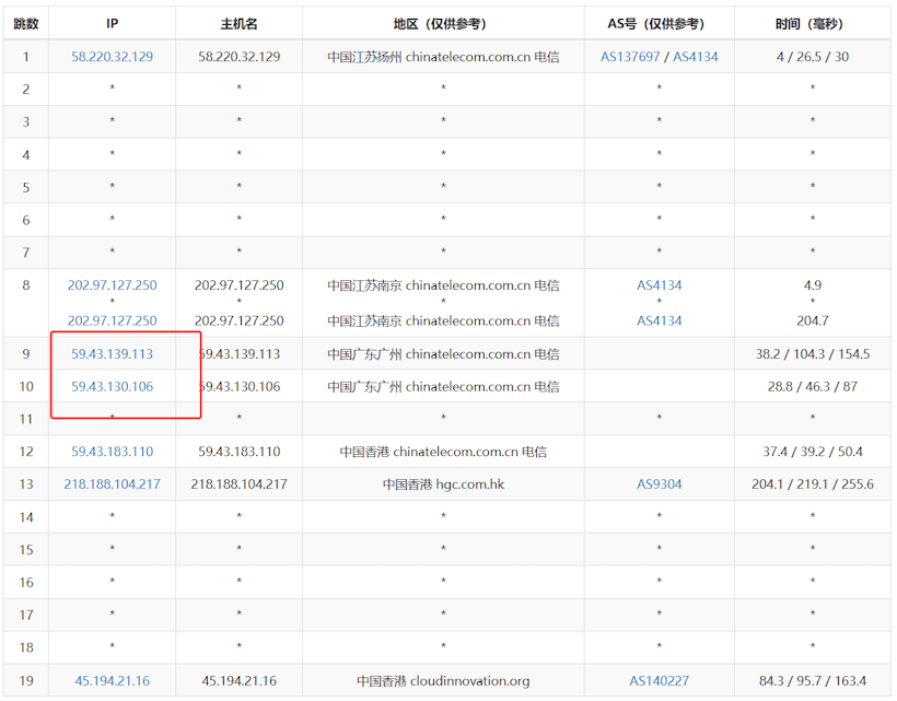
随机的去程测试电信,都的是精品网络。

这台香港轻量大带宽云服务器产品的PING速度是相当不错的且没有丢包。

毕竟有200M带宽,下载速度也都不错。
总结,对于这台JTTI旗下的香港轻量服务器还是有性价比的,拥有200M带宽且可选优化线路,速度和稳定性都在同类产品中有一定的竞争力。
原创文章,转载请注明出处:https://www.itbulu.com/jtti-hkcloud.html



