老蒋在昨天的文章中有针对HHost香港CN2线路的VPS进行评测。他们家的香港VPS是有2个方案的,还有一个是国际线路,国际线路的VPS采用500G每月流量、750M带宽配置起步,价格上相对还是便宜的3美元每月起步,同时8GB内存及以上是可以安装Win系统的。在这篇文章中,就一并针对他们家的国际线路VPS进行评测。


老蒋先测试本地的PING速度,这个比昨天的CN2线路有一些丢包。但是速度上相当。

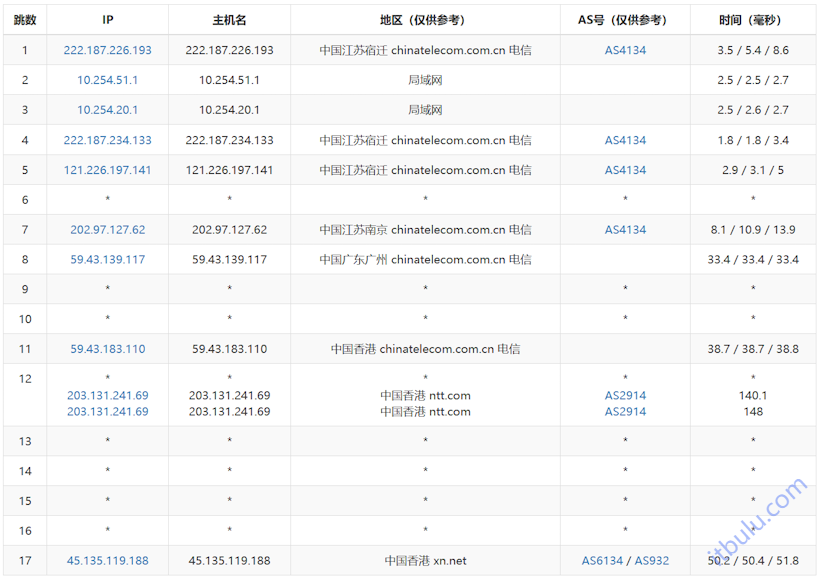
电信的去程可以看到,整体还是不错的,但是有部分是绕线走的是NTT。

联通去程路由测试显示,江苏扬州本地节点延迟极低(3.1ms),但后续节点存在明显波动;访问广东广州需经过较长路径,延迟高达592.5ms;通往香港的路由虽经联通骨干网,但延迟仍达436.7ms,整体跨地域及国际出口路径表现欠佳。

在移动去程测试,可以看到江苏扬州本地节点延迟极低(2.4ms),南京节点表现优异(1.9ms);跨省至上海后延迟略有上升(9.8ms - 26.2ms),但仍属正常骨干网跳转;通往香港的节点延迟为38.8ms,路径较为顺畅,整体移动网络去程质量也是一般的。
从这里我们可以看到,这个国际线路对于我们国内来说比昨天的CN2差一些,主打的就是海外用户用,如果我们国内要求速度好的话,选择CN2优化或者精品网络。

当然他们的机器并不是原生IP或者ISP的,所以在兼容流媒体上一般,有一些还是可以用的。
如果我们需要用到这台机器价格便宜,且适合单纯的海外用途的可以用,如果是国内用途的,速度和稳定性一般。只能说不同的价格对应不同的配置,以及适合不同的业务需求。
原创文章,转载请注明出处:https://www.itbulu.com/hhost-globalbgp.html



